首页 >
新闻动态
快速夹紧台虎钳的巧改巧用
发布时间: 2020-04-22
浏览次数: 1565

台虎钳是机械行业中最常用的夹紧装置,它的结构是由钳体、底座、倒螺母、丝杠、钳口体等组成。在机械加工、水暖安装、修理等行业应用十分广泛,是一种不可缺少的加工工具钳工的大部分工作都是在台虎钳上完成的,比如锯、锉以及零件的装配和拆卸,所以台虎钳是钳工车间的必备工具。

Part.1 台虎钳巧改巧用

下面通过对台虎钳进行了适当改造,形成了不同功能的台虎钳,从而进一步提高了它的应用范围,生产效率和加工精度,同时也减轻了工人工作的强度,可谓是人性化的改造与创新。

1、特种台虎钳的巧改巧用

图1是在台虎钳上表面加工平整后,在两个钳口上各钻两个平行的孔,插入有凸台的滑配销子,将工件紧固在四个销子之间。因为当工件太大时,不能用一般台虎钳夹紧,往往需要用很多时间将其固定在床台上,而图1用销子可以稳妥地将其压紧。


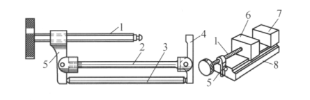
图2是不会畸变的台虎钳。台虎钳受力时,钳口6和7与底座8特别是V形槽薄弱部分会畸变,影响加工质量。改进方法是在底座纵向钻两个孔,插入螺杆2、3,由左右两个挡头4、5联接的钳口6、7与底座根本不会受弯曲力变形,可保证加工质量。




1、2、3.螺杆4、5.挡头6、7.钳口8.底座

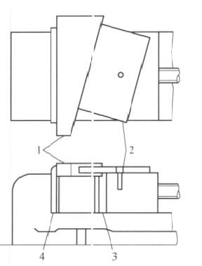
图3是有旋板的台虎钳。将台虎钳活动部分的钳口铁去掉,在该部分钻孔攻螺纹,用螺栓将一块矩形板2较松地固定在上面,可用其夹紧有斜边的工件1。图3中左边有钳口铁4,右边有去掉钳口铁的空挡3。




1.工件2.矩形板3.空挡4.钳口铁